GB/T 19725.2-2020 農林機械 便攜式割灌機和割草機安全要求和試驗 第2部分:背負式動力機械
- 發表時間:2023-03-14
- 來源:共立消防
- 人氣:
1 范圍
GB/T 19725的本部分規定了以內燃機為動力源并將機械動力傳遞至切割附件的便攜式背負動力割灌機和割草機的設計、結構和使用方面的安全要求及其試驗方法。本部分提出了消除或減少使用整機所產生的各種危害的方法,規定了由生產廠家提供的安全操作方面有關資料的要求。
本部分和第1部分的相關章節(見4.1)涉及了在正常使用以及合理的、制造商可預見的誤用整機時所有與整機相關的嚴重危險、危險情況及嚴重危害事件,背負式動力裝置引起的全身振動危害除外。
注1:目前還沒有測量背負式動力裝置引起的全身振動的標準試驗程序。
注2:嚴重危害一覽表參見附錄A及GB/T 19725.1-2020的附錄C。
本部分適用于在其實施后生產的產品。
本部分不適用于安裝非整體金屬刀片結構的機器,例如甩鏈或甩刀刀片。
2 規范性引用文件
下列文件對于本文件的應用是必不可少的。凡是注日期的引用文件,僅注日期的版本適用于本文件。凡是不注日期的引用文件,其最新版本(包括所有的修改單)適用于本文件。
GB/T 19725.1-2020 農林機械 便攜式割灌機和割草機安全要求和試驗 第1部分:側掛式動力機械(ISO 11806-1:2011,IDT)
GB/T 23821-2009 機械安全 防止上下肢觸及危險區的安全距離(ISO 13857:2008,IDT)
ISO 4413 液壓傳動 系統及其元件的通用規則和安全要求(Hydraulic fluid power-Generalrules and safety requirements for systems and their components)
ISO 4414 氣動 系統及其元件的通用規則和安全要求(Pneumatic fluid power-General rulesand safety requirements for systems and their components)
ISO 12100 機械安全 設計通則 風險評估與風險減小(Safety of machinery-Generalprinciples for design-Risk assessment and risk reduction)
3 術語和定義
GB/T 19725.1-2020界定的以及下列術語和定義適用于本文件。
注:圖1給出了屬于本部分范圍的具有背負式動力源的割灌機示例。
3.1
機具 appliance
安裝有驅動軸套管組合、切割附件及其安全罩以及手把的裝置。
3.2
整機 machine
完整的割灌機(或割草機),包括背負式動力裝置和機具。

說明:
1——背帶;
2——背負式動力裝置;
3——擋把;
4——刀片;
5——切割附件安全罩;
6——驅動軸套管組合;
7——前手把;
8——后手把。
圖1 以內燃機為動力的背負式割灌機
4 安全要求
4.1 通則
割灌機和割草機應遵守本章中的安全要求和防護措施。另外,割灌機和割草機的設計應滿足ISO 12100中給出的本部分未涉及的相關非嚴重危害的準則。
割灌機和割草機應符合GB/T 19725.1-2020中第4章除4.5外的所有要求。
安全使用割灌機和割草機取決于與使用個人防護設備(PPE)(如手套、護腿、工作靴及眼睛和耳朵的防護用品等)相關的安全環境,以及安全工作程序(見GB/T 19725.1-2020中的5.1)。
如果割草機能被改裝成割灌機,那么改裝設備應符合對割灌機的要求,反之亦然。
除非本部分中另行規定,否則安全距離應滿足GB/T 23821-2009中4.2.4.1與4.2.4.3的要求。
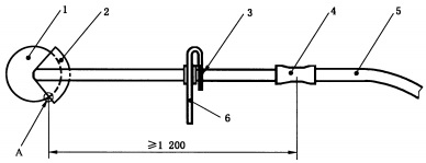
4.2 至切割附件的距離
4.2.1 要求
對于具有前、后手把的機器,后手把的中心點到切割附件上未被防護的最近點(見圖2的點A)的直線距離應不小于1200mm。點A是切割路徑的垂直平面與切割附件防護罩的側邊的交點。
該最小距離適用于所有推薦的切割附件。
4.2.2 檢驗
通過測量檢查距離。
單位為毫米

說明:
1——切割附件;
2——安全罩;
3——前手把后部中心;
4——手把握持區域;
5——柔性動力傳輸軸;
6——擋把。
圖2 安裝有圓鋸片切割附件及前后手把的機具示例
4.3 手把
4.3.1 要求
機器應有手把,手把可為軸套管的一部分,且應保證操作者握持手把能對背負式動力裝置進行操作和運輸。
手把的設計應能滿足以下要求:
——確保操作者戴上防護手套時能完全握住手把;
——手把的形狀和表面能確保握持的可靠性;
——長度不小于100mm,弧形或環形手把握持區域長度可由直線或曲率半徑大于100mm的多段曲線段組成,在握持區域表面的一端或兩端的曲率半徑應不超過10mm。
4.3.2 檢驗
通過觀察、測量和功能測試來檢驗手把的設計。
4.4 背帶
4.4.1 要求
機器應配備攜帶背負式動力裝置的雙肩背帶,且應可調節至適合操作者的尺寸。
背帶應具有快速釋放機構,快速釋放機構位于動力源和背帶之間,或位于背帶和操作者之間。無論是背帶的設計還是快速釋放結構的使用,都應確保在發生緊急事故時能使人與動力源迅速分離。
若安裝有快速釋放機構,則應保證即使在載荷狀態下,也能用一只手將其打開并且釋放動力源。
以上為標準部分內容,如需看標準全文,請到相關授權網站購買標準正版。
-
IG541混合氣體滅火系統
IG541混合氣體滅火系統:IG-541滅火系統采用的IG-541混合氣體滅火劑是由大氣層中的氮氣(N2)、氬氣(Ar)和二氧化碳(CO2)三種氣體分別以52%、40%、8%的比例混合而成的一種滅火劑 -
二氧化碳氣體滅火系統
二氧化碳氣體滅火系統:二氧化碳氣體滅火系統由瓶架、滅火劑瓶組、泄漏檢測裝置、容器閥、金屬軟管、單向閥(滅火劑管)、集流管、安全泄漏裝置、選擇閥、信號反饋裝置、滅火劑輸送管、噴嘴、驅動氣體瓶組、電磁驅動 -
七氟丙烷滅火系統
七氟丙烷(HFC—227ea)滅火系統是一種高效能的滅火設備,其滅火劑HFC—ea是一種無色、無味、低毒性、絕緣性好、無二次污染的氣體,對大氣臭氧層的耗損潛能值(ODP)為零,是鹵代烷1211、130 -
手提式干粉滅火器
手提式干粉滅火器適滅火時,可手提或肩扛滅火器快速奔赴火場,在距燃燒處5米左右,放下滅火器。如在室外,應選擇在上風方向噴射。使用的干粉滅火器若是外掛式儲壓式的,操作者應一手緊握噴槍、另一手提起儲氣瓶上的


