GB/T 37645-2019 電動自行車用電池盒尺寸系列及安全要求
- 發表時間:2023-03-24
- 來源:共立消防
- 人氣:
1 范圍
本標準規定了電動自行車用電池盒的術語和定義、尺寸與構造、要求、試驗方法和檢驗規則。
本標準適用于電動自行車用蓄電池電池盒尺寸系列及安全要求。其他類型電池盒可參照執行。
2 規范性引用文件
下列文件對于本文件的應用是必不可少的。凡是注日期的引用文件,僅注日期的版本適用于本文件。凡是不注日期的引用文件,其最新版本(包括所有的修改單)適用于本文件。
GB/T 1633-2000 熱塑性塑料維卡軟化溫度(VST)的測定
GB/T 2828.1-2012 計數抽樣檢驗程序 第1部分:按接收質量限(AQL)檢索的逐批檢驗抽樣計劃
GB/T 2829-2002 周期檢驗計數抽樣程序及表(適用于對過程穩定性的檢驗)
GB/T 5169.11-2006 電工電子產品著火危險試驗 第11部分:灼熱絲/熱絲基本試驗方法 成品的灼熱絲可燃性試驗方法
GB/T 7141-2008 塑料熱老化試驗方法
GB/T 14152-2001 熱塑性塑料管材耐外沖擊性能試驗方法 時針旋轉法
QB/T 4428 電動自行車用鋰離子電池產品規格尺寸
3 術語和定義
下列術語和定義適用于本文件。
3.1
電池盒 battery box
專門用于放置電池、電池保護裝置的整體封閉容器。
3.2
提把 hander
專門用于提拎電池盒的構件。
4 尺寸與構造
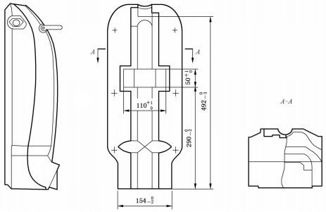
4.1 鉛酸電池盒尺寸
4.1.1 前置式鉛酸電池盒尺寸
前置式鉛酸電池盒尺寸如圖1所示。
單位為毫米

圖1 前置式鉛酸電池盒示意圖
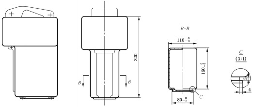
4.1.2 后置式鉛酸電池盒尺寸
A型后置式鉛酸電池盒尺寸如圖2所示。
單位為毫米

注:未標注尺寸公差的均為±2mm。
圖2 A型后置式鉛酸電池盒示意圖
B型后置式鉛酸電池盒尺寸如圖3所示。
單位為毫米

圖3 B型后置式鉛酸電池盒示意圖
4.1.3 臥置式鉛酸電池盒尺寸
臥置式鉛酸電池盒尺寸如圖4所示。
單位為毫米

圖4 臥置式鉛酸電池盒示意圖
4.2 電池盒構造
電池盒應有以下的基本構造(見圖5):
a)電池盒上部應有透氣孔,可順暢排出電池充電或工作狀態下產生的氣體;
b)電池盒內部應有電池固定裝置和布線槽,可定位和固定電池與線纜;
c)電池盒外部應有與車架連接固定裝置;
d)電池盒有安裝電氣短路保護裝置。
以上為標準部分內容,如需看標準全文,請到相關授權網站購買標準正版。
-
IG541混合氣體滅火系統
IG541混合氣體滅火系統:IG-541滅火系統采用的IG-541混合氣體滅火劑是由大氣層中的氮氣(N2)、氬氣(Ar)和二氧化碳(CO2)三種氣體分別以52%、40%、8%的比例混合而成的一種滅火劑 -
二氧化碳氣體滅火系統
二氧化碳氣體滅火系統:二氧化碳氣體滅火系統由瓶架、滅火劑瓶組、泄漏檢測裝置、容器閥、金屬軟管、單向閥(滅火劑管)、集流管、安全泄漏裝置、選擇閥、信號反饋裝置、滅火劑輸送管、噴嘴、驅動氣體瓶組、電磁驅動 -
七氟丙烷滅火系統
七氟丙烷(HFC—227ea)滅火系統是一種高效能的滅火設備,其滅火劑HFC—ea是一種無色、無味、低毒性、絕緣性好、無二次污染的氣體,對大氣臭氧層的耗損潛能值(ODP)為零,是鹵代烷1211、130 -
手提式干粉滅火器
手提式干粉滅火器適滅火時,可手提或肩扛滅火器快速奔赴火場,在距燃燒處5米左右,放下滅火器。如在室外,應選擇在上風方向噴射。使用的干粉滅火器若是外掛式儲壓式的,操作者應一手緊握噴槍、另一手提起儲氣瓶上的


