MT 146.2-2011 樹脂錨桿 第2部分:金屬桿體及其附件
- 發表時間:2022-10-06
- 來源:共立消防
- 人氣:
1 范圍
MT 146的本部分規定了樹脂錨桿金屬桿體及其附件的產品分類、技術要求、試驗方法、檢驗規則、標志、包裝、運輸和貯存。
本部分適用于礦山井巷支護用的樹脂錨桿金屬桿體及其附件。
2 規范性引用文件
下列文件中的條款通過MT 146的本部分的引用而成為本部分的條款。凡是注日期的引用文件,其隨后所有的修改單(不包括勘誤的內容)或修訂版均不適用于本部分,然而,鼓勵根據本部分達成協議的各方研究是否可使用這些文件的最新版本。凡是不注日期的引用文件,其最新版本適用于本部分。
GB/T 228 金屬材料 室溫拉伸試驗方法(GB/T228-2002,ISO6892:1998(E),EQV)
GB 1499.1 鋼筋混凝土用鋼 第1部分:熱軋光圓鋼筋 (GB1499.1-2008,ISO6935-1:1991,NEQ)
GB 1499.2 鋼筋混凝土用鋼 第2部分:熱軋帶肋鋼筋(GB1499.2-2007,ISO6935-2:1991,NEQ)
GB/T 2828.2-2008 計數抽樣檢驗程序 第2部分:按極限質量LQ檢索的孤立批檢驗抽樣方案
GB/T 2829-2002 周期檢驗計數抽樣程序及表(適用于對過程穩定性的檢驗)
GB/T 3098.2 緊固件機械性能 螺母 粗牙螺紋(GB/T3098.2-2000,ISO898-2:1992,IDT)
GB /T 6170 1型六角螺母(GB/T6170-2000,ISO4302:1999,EQV)
GB/T 10111 隨機數的產生及其在產品質量抽樣檢驗中的應用程序
MT 146.1 樹脂錨桿 第1部分:錨固劑
MT/T154.1 煤礦機電產品型號編制方法 第1部分:導則
3 術語和定義
MT 146.1中確立的以及下列術語和定義適用于MT 146的本部分。
3.1
麻花式樹脂錨桿金屬桿體 headed twist bar
在金屬桿體端部加工成一定規格的左旋麻花形錨頭,尾部加工成可上螺母的螺紋。
3.2
無縱肋螺紋鋼式樹脂錨桿金屬桿體 ribbed bars with non-longitudinal ribs
桿體由無縱肋左旋螺紋鋼制成, 尾部加工成可上螺母的螺紋。
3.3
等強螺紋鋼式樹脂錨桿金屬桿體 fully ribbed bars
由右(或左)旋精軋螺紋鋼制成,螺紋連續,全長可上螺母。
3.4
螺母組裝件承載效率系數 efficiency tactor of bar threaded or ribbed end
尾部螺紋、螺母組裝件承載力與桿體母材最大力實測平均值之比。
4 產品分類
4.1 分類
4.1.1 總則
產品按桿體材料和結構形式進行分類。
4.1.2 麻花式樹脂錨桿金屬桿體
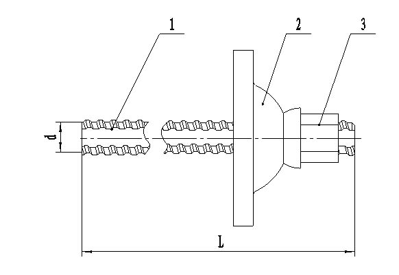
麻花式樹脂錨桿金屬桿體及附件,如圖1所示。

1—桿體;2—托盤;3—螺母
圖1 麻花式樹脂錨桿金屬桿體及附件
4.1.3 螺紋鋼式樹脂錨桿金屬桿體
4.1.3.1 無縱肋螺紋鋼式樹脂錨桿金屬桿體及附件,如圖2所示。

1—桿體;2—托盤;3—球墊;4—螺母
圖2 無縱肋螺紋鋼式樹脂錨桿金屬桿體及附件
4.1.3.2 等強螺紋鋼式樹脂錨桿金屬桿體及附件,如圖3所示。

1—桿體;2—托盤;3—螺母
圖3 等強螺紋鋼式樹脂錨桿金屬桿體及附件
4.2 規格
產品規格應符合表1規定。
表1 產品規格 單位為毫米
桿體公稱直徑d | 桿體長度L | ||||||
1400 | 1600 | 1800 | 2000 | 2200 | 2400 | 2600 | |
16 | — | + | + | + | — | — | — |
18 | — | + | + | + | + | — | — |
20 | — | — | + | + | + | + | — |
22 | — | — | — | + | + | + | + |
25 | — | — | — | — | + | + | + |
注1:+號表示優先選用長度。 注2:用戶特殊需要時,可生產其他規格的樹脂錨桿金屬桿體。 | |||||||
注1:+號表示優先選用長度。
注2:用戶特殊需要時,可生產其他規格的樹脂錨桿金屬桿體。
4.3 型號
金屬桿體的型號編制依據MT/T154.1
4.3.1 麻花式樹脂錨桿金屬桿體型號表示方法如下:

4.3.2 螺紋鋼式樹脂錨桿金屬桿體型號表示方法如下:

示例:公稱直徑20 mm,長度2000 mm,屈服強度335 MPa的無縱肋螺紋鋼式樹脂錨桿金屬桿體,可表示為MSGLW-335 / 20×2000。
5 技術要求
5.1 桿體
5.1.1 外觀
應無嚴重銹蝕,錨固段無油污。
5.1.2 桿體材料力學性能
螺紋鋼式桿體優先選用屈服強度不小于335 MPa的左旋無縱肋螺紋鋼筋,根據需要也可選用精軋右旋(或左旋)全螺紋鋼筋;麻花式樹脂錨桿金屬桿體選用屈服強度不小于235 MPa的普通熱軋圓鋼,也可選用屈服強度不小于335 MPa的螺紋鋼筋。
鋼筋混凝土用熱軋光圓鋼筋尺寸、屈服強度、抗拉強度應符合GB 1499.1的規定;左旋無縱肋鋼筋和精軋右旋(或左旋)全螺紋鋼筋屈服強度、抗拉強度應符合GB 1499.2的規定,但企業應對外觀尺寸做出要求。
桿體材料斷后伸長率應不小于15%。
以上為標準部分內容,如需看標準全文,請到相關授權網站購買標準正版。
-
IG541混合氣體滅火系統
IG541混合氣體滅火系統:IG-541滅火系統采用的IG-541混合氣體滅火劑是由大氣層中的氮氣(N2)、氬氣(Ar)和二氧化碳(CO2)三種氣體分別以52%、40%、8%的比例混合而成的一種滅火劑 -
二氧化碳氣體滅火系統
二氧化碳氣體滅火系統:二氧化碳氣體滅火系統由瓶架、滅火劑瓶組、泄漏檢測裝置、容器閥、金屬軟管、單向閥(滅火劑管)、集流管、安全泄漏裝置、選擇閥、信號反饋裝置、滅火劑輸送管、噴嘴、驅動氣體瓶組、電磁驅動 -
七氟丙烷滅火系統
七氟丙烷(HFC—227ea)滅火系統是一種高效能的滅火設備,其滅火劑HFC—ea是一種無色、無味、低毒性、絕緣性好、無二次污染的氣體,對大氣臭氧層的耗損潛能值(ODP)為零,是鹵代烷1211、130 -
手提式干粉滅火器
手提式干粉滅火器適滅火時,可手提或肩扛滅火器快速奔赴火場,在距燃燒處5米左右,放下滅火器。如在室外,應選擇在上風方向噴射。使用的干粉滅火器若是外掛式儲壓式的,操作者應一手緊握噴槍、另一手提起儲氣瓶上的


