GB/T 25353-2010 隔熱隔音材料燃燒及火焰蔓延特性試驗方法
- 發表時間:2022-11-23
 - 來源:共立消防
 - 人氣:
 
1 范圍
本標準規定了隔熱隔音材料暴露在輻射熱源和火焰下的燃燒性及火焰蔓延特性的試驗方法。
本標準適用于評估隔熱隔音材料的燃燒性及火焰蔓延特性。
2 術語及定義
下列術語和定義適用于本標準。
2.1
火焰蔓延 flame propagation
可見火焰沿著試樣長度方向蔓延的最遠距離。
注:從燃燒源火焰的中心點開始測量。在初始點火之后,試樣上所有火焰熄滅之前測量該距離,與試驗后測量燒焦長度的方法不同。
2.2
隔熱隔音材料 thermal/acoustic insulation material
阻隔熱和(或)聲音的材料或材料體系。
示例:泡沫以及用薄膜包覆的玻璃纖維或其他絮狀材料。
2.3
零點 zero point
燃燒器火焰與試樣的接觸點。
3 試驗設備
3.1 輻射板試驗箱
輻射板試驗箱如圖1所示。輻射板試驗箱應為長(1397±3)mm、寬(495±3)mm,高于試樣710mm~762mm的封閉設備。側壁、底部和頂部應有纖維狀陶瓷隔熱板使其隔熱。在前面板,應設有一個不通風的、耐高溫的玻璃窗用于試驗過程中觀察試樣。在窗口下設置一個門用于可移動的試樣平臺的進出。試驗箱的底部應為可滑動的鋼平臺,能夠確保試樣夾持器處于固定和水平的位置。試驗箱中與輻射熱源相對的一端應有內置的煙囪,其外部尺寸為長(423±3)mm、寬(139±3)mm、高(330±3)mm,內部尺寸應為長(395±3)mm、寬(114±3)mm。煙囪應延伸到試驗箱的頂部(見圖2)。
單位為毫米

圖1 輻射板試驗箱示意圖
單位為毫米

13mm的耐火板
1.6mm的耐腐蝕板
3.2mm的角鋼
圖2 內部煙囪示意圖
3.2 輻射熱源
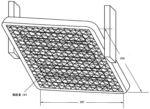
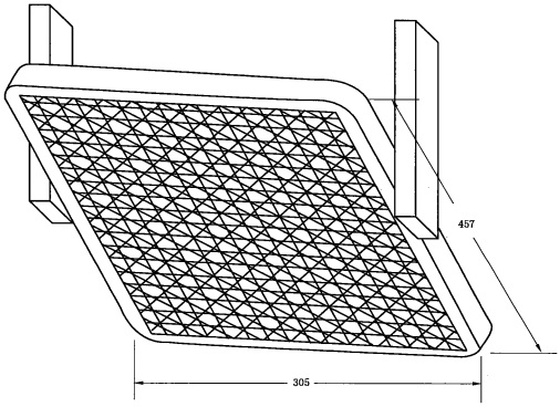
3.2.1 輻射熱源分為電熱板和丙烷氣體板兩種,應安裝在鑄鐵或等效材料所制成的框架里。電熱板應有六根76mm寬的輻射條,且輻射條應垂直于電熱板的長邊。電熱板應有長(470±3)mm、寬(327±3)mm的輻射面(見圖3),且能承受704℃的溫度。丙烷氣體板應由耐火的多孔材料制成,有長(457±3)mm、寬(305±3)mm的輻射面(見圖4),且能承受816℃的溫度。
單位為毫米

圖3 電熱輻射板示意圖
單位為毫米

圖4 丙烷氣體輻射板示意圖
以上為標準部分內容,可點擊下方鏈接下載標準原文:
-  
 IG541混合氣體滅火系統
              IG541混合氣體滅火系統:IG-541滅火系統采用的IG-541混合氣體滅火劑是由大氣層中的氮氣(N2)、氬氣(Ar)和二氧化碳(CO2)三種氣體分別以52%、40%、8%的比例混合而成的一種滅火劑 -  
 二氧化碳氣體滅火系統
              二氧化碳氣體滅火系統:二氧化碳氣體滅火系統由瓶架、滅火劑瓶組、泄漏檢測裝置、容器閥、金屬軟管、單向閥(滅火劑管)、集流管、安全泄漏裝置、選擇閥、信號反饋裝置、滅火劑輸送管、噴嘴、驅動氣體瓶組、電磁驅動 -  
 七氟丙烷滅火系統
              七氟丙烷(HFC—227ea)滅火系統是一種高效能的滅火設備,其滅火劑HFC—ea是一種無色、無味、低毒性、絕緣性好、無二次污染的氣體,對大氣臭氧層的耗損潛能值(ODP)為零,是鹵代烷1211、130 -  
 手提式干粉滅火器
              手提式干粉滅火器適滅火時,可手提或肩扛滅火器快速奔赴火場,在距燃燒處5米左右,放下滅火器。如在室外,應選擇在上風方向噴射。使用的干粉滅火器若是外掛式儲壓式的,操作者應一手緊握噴槍、另一手提起儲氣瓶上的 


