GB/T 18257-2021 回轉窯用耐火磚熱面標記
- 發表時間:2022-11-25
- 來源:共立消防
- 人氣:
1 范圍
本文件規定了回轉窯用耐火磚熱面的標記方法。
本文件適用于回轉窯用耐火磚的熱面標記設計及選用。
2 規范性引用文件
本文件沒有規范性引用文件。
3 術語和定義
本文件沒有需要界定的術語和定義。
4 技術要求
4.1 總則
回轉窯用耐火磚熱面標記通常采用溝槽法。根據需要可采用色標法作為補充標記。注:是否需要色標由供需雙方商定。
4.2 溝槽法
4.2.1 溝槽類型
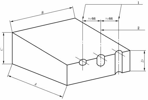
為了便于辨認,每種溝槽的形狀應不同,并深入磚體。所有槽口周邊應呈弧形。圖1給出了三種溝槽形狀,可任選其中一種。溝槽的尺寸不做規定。
4.2.2 標記位置
溝槽應位于耐火磚熱面中心線上或距該中心線約66mm的直線上,如圖1所示。
單位為毫米

標引序號說明:
1——溝槽標記中心線;
2——磚的中心線和標記中心線;
A——大小端距離;
B——磚寬;
C——大端尺寸:
D——小端尺寸。
圖1 溝槽類型和位置
4.2.3 溝槽辨認標記組合
圖2給出了四種溝槽組合,每種磚型可任選其中一種,同一環中的不同磚型應選擇不同形式的溝槽組合以便于區分。
單位為毫米

標引序號說明:
1——磚的中心線和標記中心線。
圖2 溝槽辨認標記組合
4.3 色標法
采用色標法是對4.2溝槽法的補充。色彩標記應在發運之前涂在耐火磚的熱面上,標記顏色可從白色、黃色、紅色、綠色、藍色中選擇,所選顏色應與耐火磚本體顏色形成較大的對比,使其能夠清晰地被辨認。
以上為標準部分內容,如需看標準全文,請到相關授權網站購買標準正版。
-
IG541混合氣體滅火系統
IG541混合氣體滅火系統:IG-541滅火系統采用的IG-541混合氣體滅火劑是由大氣層中的氮氣(N2)、氬氣(Ar)和二氧化碳(CO2)三種氣體分別以52%、40%、8%的比例混合而成的一種滅火劑 -
二氧化碳氣體滅火系統
二氧化碳氣體滅火系統:二氧化碳氣體滅火系統由瓶架、滅火劑瓶組、泄漏檢測裝置、容器閥、金屬軟管、單向閥(滅火劑管)、集流管、安全泄漏裝置、選擇閥、信號反饋裝置、滅火劑輸送管、噴嘴、驅動氣體瓶組、電磁驅動 -
七氟丙烷滅火系統
七氟丙烷(HFC—227ea)滅火系統是一種高效能的滅火設備,其滅火劑HFC—ea是一種無色、無味、低毒性、絕緣性好、無二次污染的氣體,對大氣臭氧層的耗損潛能值(ODP)為零,是鹵代烷1211、130 -
手提式干粉滅火器
手提式干粉滅火器適滅火時,可手提或肩扛滅火器快速奔赴火場,在距燃燒處5米左右,放下滅火器。如在室外,應選擇在上風方向噴射。使用的干粉滅火器若是外掛式儲壓式的,操作者應一手緊握噴槍、另一手提起儲氣瓶上的


