GB/T 4513.5-2017 不定形耐火材料 第5部分:試樣制備和預處理
- 發表時間:2022-12-04
- 來源:共立消防
- 人氣:
1 范圍
GB/T 4513的本部分規定了不定形耐火材料試樣的尺寸,描述了試樣的制備和預處理(養護、干燥和熱處理)方法。
本部分適用于致密澆注料、隔熱澆注料、耐火搗打料、耐火可塑料和干式料。
2 規范性引用文件
下列文件對于本文件的應用是必不可少的。凡是注日期的引用文件,僅注日期的版本適用于本文件。凡是不注日期的引用文件,其最新版本(包括所有的修改單)適用于本文件。
GB/T 4513.1 不定形耐火材料 第1部分:介紹和分類(GB/T 4513.1-2015,ISO 1927-1:2012,MOD)
GB/T 4513.4 不定形耐火材料 第4部分:澆注料流動性的測定(GB/T 4513.4-2017,ISO 1927-4:2012,MOD)
GB 5749 生活飲用水衛生標準
GB/T 6682 分析實驗室用水規格和試驗方法(GB/T 6682-2008,ISO 3696:1987,MOD)
GB/T 17732 致密定形含碳耐火制品試驗方法(GB/T 17732-2008,ISO 10060:1993,MOD)
3 試樣尺寸
試樣尺寸有以下幾種類型:A形:230mm×114mm×64mm;B形:230mm×64mm×54mm;C形230mm×64mm×64mm;D形:160mm×40mm×40mm。
試樣制備時的寬度作為試驗時的高度,偏離應做記錄,C、D形試樣的成型面應做標記。除了搗打料和干式料,可采用砂搗錘制備直徑為50mm和高為50mm±1mm的試樣外,各種材料試樣尺寸的選擇見表1。C形為實驗室仲裁試樣尺寸。試樣的尺寸的選擇由相關方協商確定。
表1 試樣的尺寸類型
澆注料 | 最大顆粒尺寸 <15mm | B或C或D | A | |
直接試驗 | ? | |||
其他試驗 | ? | |||
最大顆粒尺寸 >15mm | 直接試驗b | ?a | ||
其他試驗 | ? | |||
搗打料 | ? | |||
可塑料 | ? | |||
a B、C或D形試樣可用A形試樣切取。 b 沒有尺寸限制可直接得出結果的試驗項目包括抗折強度、常溫耐壓強度、加熱永久線變化和幾何體積密度等。 | ||||
4 設備
4.1 縮樣器
與產品的最大顆粒尺寸相適應的縮分器或者是四分法鏟子。縮分器尺寸至少為最大顆粒的2.5倍。
4.2 攪拌機
4.2.1 攪拌鍋
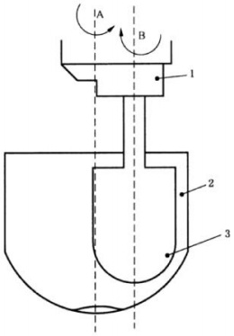
攪拌鍋示意圖見圖1,該鍋應關于A軸對稱,根據所制樣品的數量多少選擇合適容積的鍋。鍋和攪拌葉片應是不與試驗材料反應的金屬材料。

說明:
1——驅動裝置;
2——鍋:
3——攪拌葉片。
圖1 攪拌機示意圖
4.2.2 攪拌葉片
攪拌葉片的形狀應與鍋的內部尺寸相適應,葉片和鍋壁的距離及葉片和鍋底的距離應不小于材料的最大顆粒尺寸。對于最大顆粒尺寸不大于6mm的產品,葉片與鍋壁的距離應為6mm。對于大顆粒尺寸(達到25mm)的產品,葉片與鍋壁的距離通常為25mm。
攪拌葉片應繞A軸(攪拌鍋的對稱軸)以40r/min~65r/min的速度旋轉,葉片同時繞B軸(葉片的對稱軸)以120r/min~145r/min的速度按相反方向轉動。
隔熱澆注料采用低強度機械攪拌,攪拌葉片應繞A軸(攪拌鍋的對稱軸)以15r/min~25r/min的速度旋轉,葉片同時繞B軸(葉片的對稱軸)以50r/min~80 r/min的速度按相反方向轉動。
4.3 振動臺
振動臺應是一個沿垂直方向以50 Hz振動的水平臺。該振動臺具有0.50mm振幅,精度為0.05mm,整個過程振幅的精確度為±0.05mm。
4.4 氣錘
壓縮空氣錘,應有一個適合模具寬度、表面光滑平整的錘頭,例如對B形試樣錘頭底面為52mm×25mm,對于C形試樣錘頭底面為62mm×25mm。
選擇合適的錘頭的質量和搗打頻率以獲得規定的濕坯體積密度,濕坯體積密度應在試驗報告中注明。
4.5 砂搗錘
砂搗錘結構為:一個內徑50mm,長140mm的模具,一個安裝在豎軸上6.67kg±50g的重錘,重錘距安裝在軸上的環之間有50mm的滑動行程,軸的底部有一搗棒,其直徑比模具內徑小約0.3mm(見圖2和圖3)。
注:詳見GB/T 4513.3對該裝置的描述。

圖2 成型搗打料試樣的砂搗錘示意圖
以上為標準部分內容,如需看標準全文,請到相關授權網站購買標準正版。
-
IG541混合氣體滅火系統
IG541混合氣體滅火系統:IG-541滅火系統采用的IG-541混合氣體滅火劑是由大氣層中的氮氣(N2)、氬氣(Ar)和二氧化碳(CO2)三種氣體分別以52%、40%、8%的比例混合而成的一種滅火劑 -
二氧化碳氣體滅火系統
二氧化碳氣體滅火系統:二氧化碳氣體滅火系統由瓶架、滅火劑瓶組、泄漏檢測裝置、容器閥、金屬軟管、單向閥(滅火劑管)、集流管、安全泄漏裝置、選擇閥、信號反饋裝置、滅火劑輸送管、噴嘴、驅動氣體瓶組、電磁驅動 -
七氟丙烷滅火系統
七氟丙烷(HFC—227ea)滅火系統是一種高效能的滅火設備,其滅火劑HFC—ea是一種無色、無味、低毒性、絕緣性好、無二次污染的氣體,對大氣臭氧層的耗損潛能值(ODP)為零,是鹵代烷1211、130 -
手提式干粉滅火器
手提式干粉滅火器適滅火時,可手提或肩扛滅火器快速奔赴火場,在距燃燒處5米左右,放下滅火器。如在室外,應選擇在上風方向噴射。使用的干粉滅火器若是外掛式儲壓式的,操作者應一手緊握噴槍、另一手提起儲氣瓶上的


