GB/T 34220-2017 耐火材料 高溫抗拉強度試驗方法
- 發表時間:2022-12-06
- 來源:共立消防
- 人氣:
1 范圍
本標準規定了耐火材料高溫抗拉強度試驗方法的術語和定義、原理、設備、試樣、試驗步驟、結果計算和試驗報告。
本標準適用于耐火材料高溫抗拉強度的測定。
2 規范性引用文件
下列文件對于本文件的應用是必不可少的。凡是注日期的引用文件,僅注日期的版本適用于本文件。凡是不注日期的引用文件,其最新版本(包括所有的修改單)適用于本文件。
GB/T 7321 定形耐火制品試樣制備方法
GB/T 8170 數值修約規則與極限數值的表示和判定
GB/T 10325 定形耐火制品驗收抽樣檢驗規則
GB/T 17617 耐火原料和不定形耐火材料 取樣
GB/T 18930 耐火材料術語
YB/T 5202.1 不定形耐火材料試樣制備方法 第1部分:耐火澆注料
3 術語和定義
GB/T 18930界定的以及下列術語和定義適用于本文件。
3.1
高溫抗拉強度 tensile strength at elevated temperature
在高溫下,耐火材料按規定條件拉伸,發生破壞前單位面積上所能承受的極限拉力。
4 原理
在高溫條件下,對規定尺寸的試樣以恒定速度施加拉力直至斷裂,根據試樣斷裂前所承受的最大拉力和截面面積計算出高溫抗拉強度。
5 設備
5.1 拉力試驗機,示值誤差在士2%以內。試驗機應能夠以(0.15±0.015)MPa/s的速率施加拉應力,直至試樣斷裂。
試樣夾具應滿足下列要求:
a)夾具應能承受試驗條件下的高溫;
b)上下夾具應能確保夾持試樣的同軸性;
c)與試樣接觸面寬度不小于10mm。
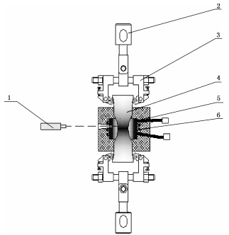
夾具及試樣的安裝見圖1所示。

說明:
1——紅外測溫儀;
2——拉力機聯接柱;
3——萬向夾具;
4——試樣:
5——加熱環;
6——加熱裝置。
圖1 試樣安裝及夾具
5.2 游標卡尺,分度值不大于0.05mm。
5.3 干燥箱,能控溫在(110±5)℃。
5.4 加熱裝置,加熱裝置能滿足7.4的要求,加熱裝置能使試樣的加熱區域溫度恒定在試驗溫度±10℃以內,加熱均溫區域長度為試樣最窄截面邊長的1.5倍。加熱裝置能在空氣氣氛或保護性氣體中按規定的升溫速率加熱、保溫,直至試驗結束。
5.5 溫度測量和記錄裝置,能連續顯示和記錄溫度的變化曲線。
6 試樣
6.1 致密定形耐火制品按GB/T 10325或有關方協商進行取樣,按GB/T7321制樣。試樣尺寸如圖2所示,試樣不得有裂紋。
注:建議采用連續凸緣金剛石片切槽。如果使用齒形凸緣刀片,刀片切出的邊緣常出現破損及裂紋。具有裂紋或明顯缺陷的試樣要作記錄或廢棄不用。

圖2 抗拉強度試樣形狀及尺寸
6.2 如果試樣從樣品磚上制取,從每塊磚上切取的試樣應相同,以便統計分析。
6.3 致密不定形耐火材料按GB/T 17617或有關方協商取樣,按YB/T 5202.1或相關標準制樣。不定形致密耐火制品的試樣尺寸如圖2所示,可以由成型模具制取。制樣時的熱處理溫度等應經有關方協商,制樣條件和試樣尺寸均須在試驗報告中注明。
6.4 試樣的數量為3個。
7 試驗步驟
7.1 制備好的試樣置于干燥箱中(110±5)℃下烘干。
7.2 測量試樣中部最窄處的截面邊長尺寸,測量值應精確至0.1mm,根據4個邊長的算術平均值,計算出截面面積A。。
7.3 將試樣安裝在試驗機上下兩夾具內,調整夾具和試樣確保同軸性。
7.4 安裝加熱裝置,加熱試樣最窄截面區域。
7.5 升溫速率
硅質材料以3℃/min~5℃/min升溫至850℃,然后快速升溫至試驗溫度。
其他材料以5℃/min~10℃/min升溫速率升至試驗溫度;或以不高于200℃/min升溫速率升至試驗溫度。
升溫速率可以協商確定。
7.6 試驗溫度與保溫時間
試驗溫度在1000℃以下保溫30min,1000℃以上,保溫5min。
不同的材料可以協商確定試驗溫度和保溫時間。
7.7 開啟拉力試驗機,以(0.15±0.015)MPa/s的速率連續均勻地施加拉應力,直至試樣斷裂,記錄指示的最大載荷。
7.8 待試樣冷卻后,測量試樣斷裂處截面尺寸。
7.9 試驗結果處理
試樣在加熱均溫區域斷裂則本次試驗數據有效。斷裂部位位于加熱均溫區域外的試驗數據無效,重新制樣并進行試驗,直至有效試樣數達到3個。
以上為標準部分內容,如需看標準全文,請到相關授權網站購買標準正版。
-
IG541混合氣體滅火系統
IG541混合氣體滅火系統:IG-541滅火系統采用的IG-541混合氣體滅火劑是由大氣層中的氮氣(N2)、氬氣(Ar)和二氧化碳(CO2)三種氣體分別以52%、40%、8%的比例混合而成的一種滅火劑 -
二氧化碳氣體滅火系統
二氧化碳氣體滅火系統:二氧化碳氣體滅火系統由瓶架、滅火劑瓶組、泄漏檢測裝置、容器閥、金屬軟管、單向閥(滅火劑管)、集流管、安全泄漏裝置、選擇閥、信號反饋裝置、滅火劑輸送管、噴嘴、驅動氣體瓶組、電磁驅動 -
七氟丙烷滅火系統
七氟丙烷(HFC—227ea)滅火系統是一種高效能的滅火設備,其滅火劑HFC—ea是一種無色、無味、低毒性、絕緣性好、無二次污染的氣體,對大氣臭氧層的耗損潛能值(ODP)為零,是鹵代烷1211、130 -
手提式干粉滅火器
手提式干粉滅火器適滅火時,可手提或肩扛滅火器快速奔赴火場,在距燃燒處5米左右,放下滅火器。如在室外,應選擇在上風方向噴射。使用的干粉滅火器若是外掛式儲壓式的,操作者應一手緊握噴槍、另一手提起儲氣瓶上的


