GB/T 22218-2008 船舶與海上技術 配有彈性密封件的金屬管路附件耐火性能 試驗方法
- 發表時間:2022-12-18
 - 來源:共立消防
 - 人氣:
 
1 范圍
本標準規定了用來判斷船舶工程系統中配有彈性密封件的金屬閥門、管接頭和類似的管路附件耐火性能的試驗方法。
本標準適用于船舶工程系統中帶有彈性密封件的金屬閥門、管接頭和類似的管路附件(以下簡稱管路附件)。
本標準用于判斷在符合GB/T 22219/ISO 19922:2005要求的試驗臺上完成火燒試驗后,在檢驗壓力下,管路附件是否保持密封和無任何影響其功能的損壞。
2 規范性引用文件
下列文件中的條款通過本標準的引用而成為本標準的條款。凡是注日期的引用文件,其隨后所有的修改單(不包括勘誤的內容)或修訂版均不適用于本標準,然而,鼓勵根據本標準達成協議的各方研究是否可使用這些文件的最新版本。凡是不注日期的引用文件,其最新版本適用于本標準。
GB/T 22219 船舶與海上技術 配有彈性密封件的金屬管路附件耐火性能試驗臺要求(GB/T 22219-2008,ISO 19922:2005,IDT)
3 標記
3.1 試驗標記規定如下:
 
3.2 標記示例:
不帶防火套的管路附件的耐火性能試驗,火燒持續時間為30min,火燒過程中試樣工作壓力為0.5 MPa,火燒結束后試樣的水壓密封檢驗壓力為2.4MPa的試驗標記為:
CS GB/T 22218-30-0.5-2.4-B
4 試樣和試驗準備
管路附件的試樣尺寸應能被火焰完全包圍,并符合7.1的規定。
試樣與試驗臺的連接方式,應由生產廠商與試驗操作人員協商一致。字母B表示試驗中試驗樣品不帶防火套,字母F表示試驗中試驗樣品帶有防火套。
試樣在試驗時是否帶有防火層應當協商一致。
試驗前,樣品應在環境溫度下放置24h。
5 試樣數量
試樣的數量和尺寸規格應由生產廠商和試驗操作人員協商一致。但是,至少應用3個不同尺寸規格的樣品來進行試驗。
用于驗證的成系列的管路附件中的最小和最大尺寸規格的管路附件,都應進行試驗。
6 試驗臺
試驗中所用試驗臺應符合GB/T 22219的規定。
7 試驗方法
7.1 試樣的安裝
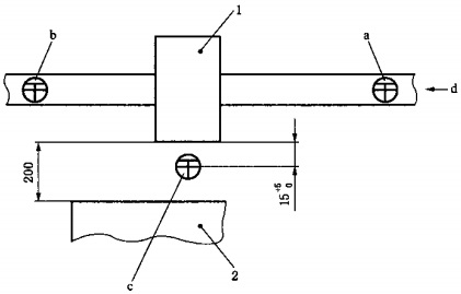
試樣應被安裝在試驗臺上方,試驗臺的燃燒器側面超出試樣各邊的距離不應小于20mm(見圖1),并使試樣能被火焰完全包圍。
單位為毫米
 
1——試樣;
2——試驗臺的燃燒器。
圖1 試樣安裝示意圖
7.2 準備
安裝后,試樣應通入試驗介質(水)至少1min,以便盡可能的排除試樣中的空氣。
7.3 測量值和測量點
應在指定的測點(見圖2)處測量下列數值:
a)測點a和b處的水溫;
b)測點c處的火焰溫度;
c)水的流量;
d)火燒過程中試樣內的工作壓力;
e)燃氣消耗量。
在試驗過程中,應以不超過2min的時間間隔對所有數值進行測量。
單位為毫米
 
1——試樣;
2——試驗臺的燃燒器。
注:
a——試樣進口處的水溫測點;
b——試樣出口處的水溫測點;
c——在試樣中心正下方的火焰溫度測量點;
d——水流方向。
圖2 溫度測量點示意圖
7.4 試驗開始
當測量點溫度(火焰溫度和水溫)達到表1規定溫度的時刻為試驗開始時刻。
7.5 試驗溫度
在火燒試驗過程中,應保持表1所示溫度值。應控制水流的速度,以保持水溫在規定的范圍內。
表1 溫度
測點a的水溫  | 80℃±2℃  | 
測點b的水溫  | ≤85℃  | 
測點c的火焰溫度  | 800℃±50℃  | 
注:溫度測量點見圖2。  | |
7.6 試驗壓力
試驗過程中,試樣的工作壓力不應低于0.5 MPa±0.02 MPa。
可采用其他的工作壓力進行試驗,但應由生產廠商與試驗操作人員協商一致。
火燒結束后,試樣應在環境溫度下進行水壓密封性檢驗,檢驗壓力不應小于1.5倍的公稱壓力或工作壓力,保持5min,試樣應無滲漏。
7.7 持續時間
火燒試驗持續時間應為30min。
7.8 熱通量
熱通量應符合燃料流量為5kg/h的預混和丙烷的燃燒所產生的65kW熱釋放率。為保持穩定的熱通量,應測量燃氣消耗量,測量精度為±3%。試驗中所用丙烷的純度不小于95%。
對于公稱直徑超過152mm的管路附件,公稱直徑每增加51mm就應增加一排燃燒器。在燃燒器組中心線上方125mm±10mm處,仍應保持平均113.6kW/m2(±10%)的穩定熱通量。應調節燃料流量以保持指定的熱通量,并且火焰應將試樣完全包圍。
8 判定
當在火燒試驗及其后的水壓密封性檢驗過程中,試樣無滲漏,則判定樣品通過試驗。
以上為標準部分內容,如需看標準全文,請到相關授權網站購買標準正版。
-  
 IG541混合氣體滅火系統
              IG541混合氣體滅火系統:IG-541滅火系統采用的IG-541混合氣體滅火劑是由大氣層中的氮氣(N2)、氬氣(Ar)和二氧化碳(CO2)三種氣體分別以52%、40%、8%的比例混合而成的一種滅火劑 -  
 二氧化碳氣體滅火系統
              二氧化碳氣體滅火系統:二氧化碳氣體滅火系統由瓶架、滅火劑瓶組、泄漏檢測裝置、容器閥、金屬軟管、單向閥(滅火劑管)、集流管、安全泄漏裝置、選擇閥、信號反饋裝置、滅火劑輸送管、噴嘴、驅動氣體瓶組、電磁驅動 -  
 七氟丙烷滅火系統
              七氟丙烷(HFC—227ea)滅火系統是一種高效能的滅火設備,其滅火劑HFC—ea是一種無色、無味、低毒性、絕緣性好、無二次污染的氣體,對大氣臭氧層的耗損潛能值(ODP)為零,是鹵代烷1211、130 -  
 手提式干粉滅火器
              手提式干粉滅火器適滅火時,可手提或肩扛滅火器快速奔赴火場,在距燃燒處5米左右,放下滅火器。如在室外,應選擇在上風方向噴射。使用的干粉滅火器若是外掛式儲壓式的,操作者應一手緊握噴槍、另一手提起儲氣瓶上的 


