GB 28735-2012 消防用開門器
- 發表時間:2022-11-03
- 來源:共立消防
- 人氣:
1 范圍
本標準規定了消防用開門器的術語和定義、型號、技術要求、試驗方法、檢驗規則以及標志、包裝、運輸、貯存。
本標準適用于消防隊員在滅火和應急救援中使用的開門器。
2 規范性引用文件
下列文件對于本文件的應用是必不可少的。凡是注日期的引用文件,僅注日期的版本適用于本文件。凡是不注日期的引用文件,其最新版本(包括所有的修改單)適用于本文件。
GB/T 191 包裝儲運圖示標志
GB/T 9969 工業產品使用說明書 總則
GB/T 3683 橡膠軟管及軟管組合件 油基或水基流體適用的鋼絲編織增強液壓型 規范
SH 0358 10號航空液壓油
3 術語和定義
下列術語和定義適用于本文件。
3.1
消防用開門器 door opener for fire fighting
消防隊員在滅火和應急救援中,用于破拆門體和門框結構的工具。
3.2
最大開啟力 maximal opening force
在額定工作壓力下,消防用開門器在開啟方向上能對開啟對象產生的最大作用力。
3.3
最大開啟距離 maximal opening distance
消防用開門器的兩底腳腳尖沿開啟方向所能張開的最大距離。
4 型號

標記示例:XKM-80/100表示最大開啟力為80kN,最大開啟距離為100mm的消防用開門器。
5 技術要求
5.1 消防用開門器
5.1.1 外觀
消防用開門器(以下簡稱開門器)的外表面應光滑平整,無毛刺及加工缺陷,金屬件表面應進行防腐蝕處理。
5.1.2 開啟力和開啟距離
開門器的最大開啟力不應小于60kN,最大開啟距離不應小于60mm。
5.1.3 開啟性能
開門器開啟過程應平穩,按6.2.3規定的試驗方法試驗后,不應有泄漏和機械損壞現象。
5.1.4 底腳回位性能
開門器底腳的回位過程平穩,回位后兩底腳腳尖的間距不應大于2mm。
5.1.5 強度
開門器應能經受1.5倍額定工作壓力的強度試驗,按6.2.5規定的試驗方法試驗后,不應有泄漏和機械損壞現象。
5.1.6 高低溫性能
開門器按6.2.6規定的試驗方法試驗后,應動作正常,無異常現象。
5.1.7 密封性
開門器按6.2.7規定的試驗方法試驗后,其最大位移量不應大于1mm。
5.1.8 可靠性
開門器按6.2.8規定的試驗方法試驗后,應動作正常,無泄漏、機械損壞及異常現象。
5.2 附件
5.2.1 液壓軟管
5.2.1.1 開門器使用的液壓軟管兩端應設置金屬護套,液壓軟管應符合GB/T 3683的要求。
5.2.1.2 開門器使用的液壓軟管及液壓接頭按6.3規定的試驗方法試驗后,不應出現滲漏現象。
5.2.2 液壓接頭
5.2.2.1 開門器使用的液壓接頭應帶有自鎖功能和防塵裝置。
5.2.2.2 開門器使用的液壓接頭按6.4規定的試驗方法試驗后,應無破損、滲漏或永久性變形。
5.2.3 液壓油
開門器使用的液壓油應符合SH0358的要求。
6 試驗方法
6.1 試驗條件
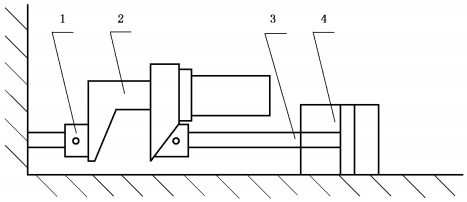
6.1.1 開門器試驗裝置,見圖1。
6.1.2 試驗所用壓力傳感器的測量準確度不應低于0.4級。
6.1.3 試驗所用位移傳感器的測量準確度不應低于0.1mm。
6.1.4 試驗所用力傳感器的測量準確度不應低于0.1kN。
6.1.5 除高低溫試驗外,本標準的試驗應在環境溫度為25℃±10℃的條件下進行。
6.2 開門器試驗
6.2.1 外觀檢查
用目測方法進行檢查。
6.2.2 開啟力和開啟距離試驗
將開門器和試驗裝置的測試油缸活塞桿端部相接,如圖1所示。開門器進出油口與試驗裝置的動力源連接。在額定工作壓力下,開門器推壓測試油缸活塞桿,從閉合位置伸展至最大開啟距離,用力傳感器測出開啟力;同時,測出開門器的開啟距離。

說明:
1-固定端:
2-開門器;
3-活塞桿;
4-測試油缸。
圖 1
6.2.3 開啟性能試驗
將試驗裝置的測試油缸活塞桿伸長與試驗裝置的固定端相抵,測試油缸對固定端逐漸施加作用力,直至力的大小為開門器最大開啟力的95%。開門器進出油口與試驗裝置的動力源連接,將固定腳和活動腳伸入試驗裝置的測試油缸活塞桿與固定端之間。如圖1所示,開門器在額定工作壓力下推壓測試油缸活塞桿,測試油缸內壓力保持不變,開門器從閉合位置伸展至位移為最大開啟距離的50%。觀察開門器動作以及有無泄漏和機械損壞情況。
以上為標準部分內容,如需看標準全文,請到相關授權網站購買標準正版。
-
IG541混合氣體滅火系統
IG541混合氣體滅火系統:IG-541滅火系統采用的IG-541混合氣體滅火劑是由大氣層中的氮氣(N2)、氬氣(Ar)和二氧化碳(CO2)三種氣體分別以52%、40%、8%的比例混合而成的一種滅火劑 -
二氧化碳氣體滅火系統
二氧化碳氣體滅火系統:二氧化碳氣體滅火系統由瓶架、滅火劑瓶組、泄漏檢測裝置、容器閥、金屬軟管、單向閥(滅火劑管)、集流管、安全泄漏裝置、選擇閥、信號反饋裝置、滅火劑輸送管、噴嘴、驅動氣體瓶組、電磁驅動 -
七氟丙烷滅火系統
七氟丙烷(HFC—227ea)滅火系統是一種高效能的滅火設備,其滅火劑HFC—ea是一種無色、無味、低毒性、絕緣性好、無二次污染的氣體,對大氣臭氧層的耗損潛能值(ODP)為零,是鹵代烷1211、130 -
手提式干粉滅火器
手提式干粉滅火器適滅火時,可手提或肩扛滅火器快速奔赴火場,在距燃燒處5米左右,放下滅火器。如在室外,應選擇在上風方向噴射。使用的干粉滅火器若是外掛式儲壓式的,操作者應一手緊握噴槍、另一手提起儲氣瓶上的


